Site agence Novelty Occitanie

NOVELTY - RUBLED-Profil-z22-diff

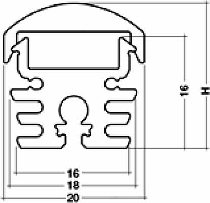
Profilé alu pour ruban LED en longueur de 2m, avec couvercle diffusant (62%, 82% ou 92%) bombé larg. 20mm

Propriétés techniques
  • Poids unitaire : 430 g/ml (profilé+couvercle+ruban)
Nous contacter

Vous avez un projet ou une question ?

Nos équipes sont prêtes à répondre à vos besoins et à concrétiser vos projets. Contactez votre agence locale ou laissez-nous un message, nous serons ravis de vous accompagner.

Contactez-nous