Site agence Novelty Occitanie

L-ACOUSTICS - 5XT

Enceinte coaxiale ultra-compacte, passive 2 voies, directivité conique 110°

Informations
  • Codart : 5XT@SOLO

Détails produit

Enceinte coaxiale ultra-compacte

  • Enceinte passive 2 voies
  • Applications courte portée (distribution et compléments)
  • Directivité conique de 110°, excellente performance hors axe
  • Système d’accrochage rapide par pied de micro ou étrier ETR5
  • Extension de grave possible avec SB15m
  • Pilotage et de protection par LA4/LA8
  • Marron-gris, blanc et nuancier RAL

L-ACOUSTICS® a introduit en 1989 première enceinte coaxiale pour le renfort sonore. Initialement conçue pour des applications de studio, la technologie coaxiale a montré de nombreux avantages par rapport aux systèmes deux voies classiques, ces derniers produisant des interférences autour du point de raccordement fréquentiel se traduisant par la présence de lobes secondaires et par des réponses en fréquence et en puissance défectueuses.??La superposition des centres acoustiques LF et HF dans la conception coaxiale crée un point source virtuel unique, améliorant significativement les caractéristiques de propagation. Ceci est particulièrement utile dans le cas de systèmes distribués pour lesquels la majorité de l’audience se situe hors axe. Le champ sonore d’une enceinte coaxiale étant stable sur la totalité du spectre fréquentiel et également dans toutes les directions, l’ensemble des auditeurs bénéficient d’une excellente restitution sonore dans le cône de directivité?de l’enceinte.

Les apports de la technologie coaxiale sont liés à la propagation sonore caractéristique de la source ponctuelle. La qualité sonore naturelle de type monitoring de studio et la sensation de transparence typique des systèmes coaxiaux sont adaptées aux applications de proximité telles le retour de scène, le renfort nez-de-scène ou sous-balcon, ou le monitoring de concert.

La technologie du point source est également adaptée aux applications distribuées en milieu réverbérant car le champ sonore issu de la réflexion d’une source unique est beaucoup plus cohérent que celui issu de la réflexion de deux sources séparées, typique de la combinaison haut-parleur/pavillon des systèmes classiques.

Les systèmes coaxiaux représentent des solutions ‘‘clés en main’’ et sont disponibles avec DSP et amplification intégrés (série P) ou avec des contrôleurs amplifiés externes munis d’un ensemble de presets dédiés aux applications de façade, renfort de proximité, ou retour de scène (XT). Ce conditionnement intégré offre à l’utilisateur une installation rapide et conviviale ainsi qu’un résultat sonore cohérent et reproductible tout en assurant la protection la plus efficace possible des composants.

SYSTÈME 5XT 

La base du système est une enceinte coaxiale passive deux voies associée à un contrôleur amplifié dédié utilisant des programmes spécifiques

L’enceinte, de type bass-reflex, comprend deux transducteurs coaxiaux: un haut-parleur de 5″ traité contre l’humidité pour la section grave et un moteur à chambre de compression de 1″ pour la section aiguë. L’enceinte présente une impédance nominale de 16 ohms.

La bande passante utile de l’enceinte est 95 Hz to 20 kHz (-10 dB). La directivité (axisymétrique) du système est de 110° à -6 dB. La puissance RMS long terme admissible est de 85 W sous 16 Ohms. Le niveau SPL crête maximum, mesuré à 1 m en champ libre avec un bruit rose de 10 dB de facteur de crête, est de 119 dB. 

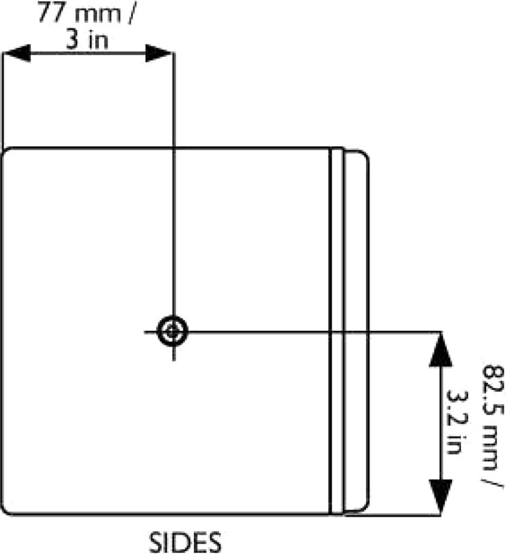
L’enceinte est fabriquée en multiplis de bouleau balte. Ses dimensions sont : (H x L x P) 165 x 165 x 165 mm pour un poids net de 3.5 kg. L’avant de l’enceinte est protégé par une grille en acier (revêtement sablé) .

L’enceinte dispose sur sa face inférieure d’une embase de 3/8″ pour montage sur pied de micro, ainsi qu’un insert M6 de chaque côté de la menuiserie permettant d’accrocher l’enceinte à l’aide d’un étrier ajustable. La connexion de l’enceinte s’effectue à l’aide de deux embases SpeakON® 4 points montées en parallèle ou de deux borniers à vis.

Les enceintes sont pilotées et amplifiées par un contrôleur dédié basé sur une architecture à quatre entrées, quatre sorties et quatre canaux d’amplification délivrant chacun 1000 watts sous 4 ou 8 ohms à 1 % de THD et une alimentation à découpage (SMPS) équipée d’une correction du facteur de puissance (PFC) et de modules d’amplification de classe D à haut rendement.

Le contrôleur permet le stockage de 255 presets, dispose d’une interface utilisateur, d’une connexion Ethernet pour le pilotage et le contrôle à distance ainsi que d’un panneau pour la connexion directe des entrées de signal analogique et numérique (AES/EBU) et des sorties haut-parleur.

Les convertisseurs A/D 24 bits et le DSP 32 bits à virgule flottante opèrent à une fréquence d’échantillonnage de 96 kHz. Le DSP intègre des algorithmes de filtrage IIR et FIR, une plage de délais de 0 à 1000 ms, un dispositif de limiteurs basés sur le contrôle de l’excursion et de la température. L’ensemble présente un temps de latence fixe égal à 3,9 ms (3,4 ms avec AES/EBU).

Un réseau haut débit à 100 Mbits/sec permet le contrôle et la visualisation de chaque contrôleur du réseau en temps réel, et ce jusqu’à 253 unités. De multiples topologies réseau doivent être possibles (étoile, série, et hybride). Le raccordement physique entre micro-ordinateur et réseau de contrôleurs s’effectue par un câblage de catégorie CAT5e U/FTP (ou supérieure) et des embases etherCON entrée/sortie Fast Ethernet (norme RJ45).

Un logiciel permet une visualisation globale de l’état du réseau, des groupes de contrôleurs et de l’ensemble des informations de contrôle (témoins de charge, niveau d’entrée et de sortie, état du réseau) et de pilotage (gain, mute, délai, preset, contour Eq) des unités.

Nous contacter

Vous avez un projet ou une question ?

Nos équipes sont prêtes à répondre à vos besoins et à concrétiser vos projets. Contactez votre agence locale ou laissez-nous un message, nous serons ravis de vous accompagner.

Contactez-nous